浙江机制电价竞价结果:光伏0.3929元/千瓦时,14个项目入围!
光伏产业网讯
发布日期:2025-12-08
核心提示:
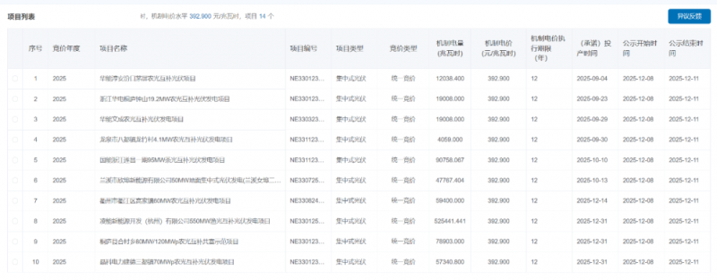
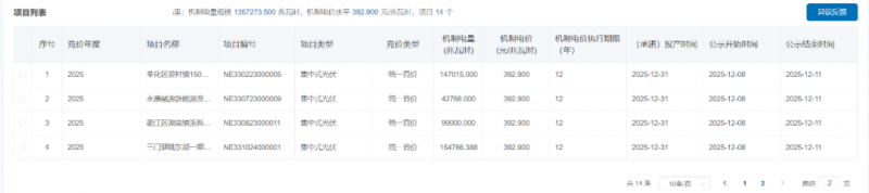
12月8日,浙江首轮增量新能源项目机制电价竞价结果公示。根据公示,2025年统一竞价项目竞价出清结果:机制电量规模13.572735亿千
12月8日,浙江首轮增量新能源项目机制电价竞价结果公示。

根据公示,2025年统一竞价项目竞价出清结果:机制电量规模13.572735亿千瓦时,机制电价水平0.3929元/kWh,项目14个。


11月13日,浙江省发改委发布关于开展2025年新能源增量项目机制电价第1次竞价工作的通知。
根据通知文件,本次竞价机制电量总规模为光伏发电147.4万兆瓦时(14.74亿千瓦时)。价格上限为393元/兆瓦时(0.393元/千瓦时),申报价格下限为242元/兆瓦时(0.242元/千瓦时)。




